天眼查顯示,華為技術有限公司近日新增多條專利信息,其中一條名稱為“一種光芯片、光模塊及通信設備”,涉及光通信技術領域,公開號為CN116841060A。

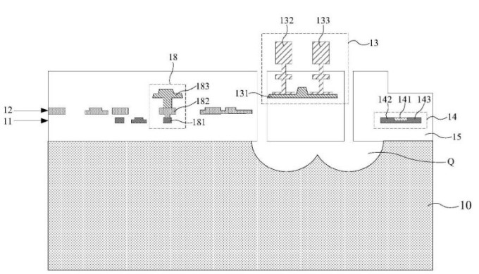
專利摘要顯示,本申請提供一種光芯片、光模塊及通信設備,光芯片包括:半導體襯底,以及位于半導體襯底之上的硅波導層、氮化硅波導層、電光調制器和光電探測器。光電探測器包括:鍺本征結構,以及位于鍺本征結構兩側的P型摻雜區和N型摻雜區;鍺本征結構、P型摻雜區和N型摻雜區集成于硅波導層內。氮化硅波導層位于硅波導層背離半導體襯底的一側,電光調制器位于氮化硅波導層背離半導體襯底的一側。本申請實施例中的光芯片的集成度較高,將該光芯片應用于光模塊中,可以降低光模塊的尺寸、成本及功耗。
華為指出,隨著互聯網技術的發展,人類對網絡帶寬需求的不斷快速爆炸式增長。靈活光網絡的提出、相干技術的發展,光網絡集成度的提升等,都在有效的解決人們日益增長的需求。隨著光通信系統的集成度不斷提升,光模塊正在向高速率、小型化、低成本、低功耗等方向發展。高速電光調制器和高速光電探測器作為對光網絡的中從電域向光域/光域向電域轉換的核心接口,被廣泛應用于大容量長距離的相干通信系統中,光器件和其中光芯片的形態會直接影響到整個光模塊的速率,尺寸,成本和功耗。然而,相關技術中,由于光芯片的集成度較低,導致光模塊的尺寸無法減小、光模塊的功耗無法進一步降低。因此華為提出了以上專利。
詢價列表 ( 件產品)
哦! 它是空的。